脊髓損傷(SCI)仍然是一種致殘性神經系統疾病,有效的治療選擇有限。人誘導多能干細胞衍生的神經干/祖細胞(hiPSC-NS/PCs)通過實現神經替代、促進髓鞘再生和調節受損微環境,提供了一種極具前景的再生策略。臨床前模型的研究進展,以及首個基于hiPSC的SCI治療臨床試驗的啟動,進一步增強了該方法的轉化應用潛力。
多能干細胞來源的神經干/祖細胞療法治療脊髓損傷:臨床進展和轉化展望
2026年1月9號,知名期刊雜志《Stem Cells Translational Medicine》發表了一篇“人誘導多能干細胞衍生的神經干/祖細胞療法治療脊髓損傷:臨床前進展和轉化展望”的研究綜述[1]。

該研究綜述主要綜述了神經干細胞移植治療脊髓損傷的生物學特性、作用機制以及臨床前和臨床研究的最新進展。此外,我們還探討了該技術在臨床應用方面的未來前景和挑戰。
總而言之,這些研究成果凸顯了基于hiPSC的再生醫學在脊髓損傷治療領域具有多樣化、創新性和轉化應用潛力。

脊髓損傷的流行病學和治療挑戰
脊髓損傷(SCI)的流行病學呈現出全球性負擔重、病因多樣化的特點。全球有超過1500萬患者,其中創傷性損傷(如交通事故、跌倒、運動損傷和暴力)是主要原因。值得注意的是,隨著人口老齡化加劇,非創傷性病因(如退行性脊柱疾病、腫瘤和血管病變)的貢獻日益顯著,老年人因輕微跌倒導致頸椎損傷的病例尤為常見。
這使得SCI不僅是突發性的災難性事件,也成為與年齡相關的重要健康問題,給患者家庭和社會帶來沉重的長期照護及經濟負擔。
在治療方面,脊髓損傷面臨的根本性挑戰在于中樞神經系統的內在修復能力極弱。原發性損傷會引發一系列復雜的繼發性病理級聯反應(如炎癥、缺血、膠質瘢痕形成),進一步阻礙神經再生。
當前的標準臨床治療以手術減壓、康復訓練和癥狀管理為主,雖能改善部分功能并預防并發癥,但無法實現神經結構的真正重建與功能的完全恢復。

因此,治療的核心挑戰是如何有效促進軸突再生、重建神經連接、并恢復喪失的感覺、運動與自主神經功能。正是在此背景下,基于干細胞的再生醫學,尤其是hiPSC技術,為突破這一治療瓶頸帶來了新的希望。
干細胞和誘導多能干細胞療法在脊髓損傷治療中的潛力
除了原發性損傷造成的神經組織不可逆破壞外,脊髓損傷還涉及炎癥、軸突變性、脫髓鞘和膠質瘢痕形成等繼發性過程。這些病理變化顯著阻礙了神經回路的重建,使得自發性功能恢復極其有限。目前的標準治療旨在通過康復治療限制損傷進展并促進代償性功能恢復。然而,目前尚無任何療法能夠再生或修復受損的神經組織本身。
在此背景下,基于干細胞的療法已成為再生醫學領域一種極具前景的方法。干細胞具有自我更新和多向分化潛能,有望在損傷部位進行細胞替代、重建神經回路、促進髓鞘再生、提供神經保護并調節炎癥反應。
近年來,誘導多能干細胞(iPSC)技術的出現加速了這項研究,它提供了一種符合倫理且免疫學上安全的細胞來源,可以無限擴增。iPSC可由患者自身的體細胞生成,這為個性化醫療提供了重要優勢。因此,干細胞療法——特別是使用iPSC的療法——作為脊髓損傷(SCI)的潛在基礎治療方法,已引起越來越多的關注,其基礎研究和臨床前研究正在全球范圍內積極推進,以期最終應用于臨床。
不同來源神經干/祖細胞的特性與臨床應用
在眾多干細胞類型中,神經干/祖細胞(NS/PCs)因其能分化為所有中樞神經系統譜系細胞并對局部微環境具有良好的響應性,而在脊髓損傷治療中備受關注。根據來源不同,主要可分為人胎兒組織來源、人胚胎干細胞(hESC)來源以及人誘導多能干細胞(hiPSC)來源的NS/PCs,它們各具特色,臨床轉化程度也不盡相同。
01.人類胎兒來源的神經干細胞/祖細胞
人胎兒來源的神經干細胞/祖細胞(NS/PCs)在脊髓損傷治療中顯示出明確的治療潛力。這些細胞源自發育中的人體中樞神經系統,具有內在的強大神經發生與分化能力,能夠較好地適應宿主的損傷環境。
臨床前動物實驗證實,移植后可促進神經回路重建和運動功能恢復。更關鍵的是,以NSI-566細胞系為代表的首次人體臨床試驗(I/II期)初步驗證了其安全性與可行性,患者耐受性良好,且長期隨訪報告了運動和感覺功能的持續改善以及電生理學證據,為這類細胞的治療有效性提供了初步的臨床數據支持。

然而,關于使用人類胎兒組織、供體依賴性和細胞供應不穩定的倫理問題仍然是臨床應用中的重大限制,對廣泛采用作為一種普遍的治療策略構成了挑戰。
02.人類胚胎干細胞衍生的少突膠質前體細胞
人胚胎干細胞來源的少突膠質祖細胞(hESC-OPCs)在治療脊髓損傷方面展現出標準化的修復潛力與初步的臨床前景。hESC具備無限自我更新和高效分化為特定神經譜系(如OPCs)的能力,這為生產均一、可規模化的細胞產品奠定了基礎。臨床前研究證實,在亞急性損傷模型中移植hESC-OPCs能有效促進髓鞘再生和運動功能恢復。
基于這些結果,一項使用hESC來源的OPCs(LCTOPC1;曾用名 GRNOPC1和AST-OPC1)治療急性胸段SCI患者的首次人體試驗證實了其安全性和可行性。一項為期10年的隨訪研究報告稱,未出現腫瘤形成、病灶增大或神經功能惡化,支持hESC來源的OPC療法在人體中的長期安全性。
基于這些發現,一項針對亞急性頸椎脊髓損傷(AIS-A,C4-C7)的I/IIa期臨床試驗評估了hESC衍生的少突膠質前體細胞(OPC)。
2022年在一項針對亞急性頸髓損傷患者少突星細胞祖細胞的1/2a期劑量遞增的研究中,96%的受試者在一側或雙側至少恢復了一個運動節段,32%的受試者恢復了兩個或更多節段的運動功能,且未發生意外不良事件。然而,這種程度的改善可能部分反映了疾病的自然進展或自發性恢復,因此應謹慎解讀其與細胞治療的因果關系。

此外,一項后續臨床試驗已于2025年啟動,目前正在進行中。該研究的結果將進一步闡明這種方法的安全性和治療潛力。
綜合來看,hESC-OPCs療法是脊髓損傷再生治療領域一個經過概念驗證的重要選項。其未來的發展取決于正在進行的后續臨床試驗能否提供更確鑿的有效性證據,同時也依賴于在技術和監管層面解決其固有的倫理與免疫原性挑戰。在多種干細胞療法競相發展的格局中,hESC來源的細胞因其標準化生產的優勢,將繼續作為一個關鍵的技術路徑被深入探索。
03.人誘導多能干細胞衍生的神經干細胞/祖細胞
hiPSC-NS/PCs具有與hESCs相當的多能性,且倫理問題較少。此外,由于它們可由患者自身的體細胞生成,因此在個體化醫療和降低免疫排斥風險方面具有顯著優勢。然而,基因組不穩定性和非靶向分化問題仍然令人擔憂,需要密切監測。
目前,人們正在積極開發降低致瘤風險的策略,例如清除未分化細胞和對移植細胞進行嚴格的質量控制,基于hiPSC的脊髓損傷 (SCI) 治療的臨床應用也在穩步推進。
2021年,在日本,首個使用供體來源的hiPSC-NS/PCs治療亞急性完全性SCI (AIS-A) 的臨床研究已經開展;該研究總結于圖1。在該試驗中,4名C3/4至T10損傷的患者在受傷后28天內接受了細胞移植。首例移植手術于2021年進行,患者觀察期于2024年結束。

截至撰寫本文時,該研究的詳細安全性和功能性結果尚未發表,因此未納入本次綜述。該試驗是hiPSC-NS/PCs移植治療脊髓損傷臨床應用的重要里程碑。未來的研究方向包括將該方法推廣至慢性脊髓損傷,并通過康復和藥物干預等聯合策略優化治療效果。

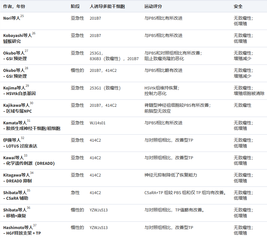
迄今為止報道的NS/PC和OPC移植治療SCI的主要臨床試驗已按細胞來源分類(表1)。

hiPSC-NS/PCs移植治療脊髓損傷的作用機制
利用hiPSC-NS/PCs進行移植療法被認為是脊髓損傷(SCI)的一種很有前景的基礎治療方法。我們的研究表明,移植的hiPSC-NS/PCs能夠存活,并可能有助于改善受損脊髓的功能和保護其組織,且在嚙齒動物和非人靈長類動物SCI模型中均未觀察到腫瘤形成(表2)。其治療機制主要歸因于以下三個方面。

hiPSC-NS/PCs移植治療脊髓損傷的核心機制之一,是通過直接分化為功能性神經元并重建受損的神經回路來實現功能恢復。移植的細胞能夠分化成各類神經元,并延伸長距離軸突,與宿主的上下行神經通路形成突觸連接。
關鍵的功能性證據來自化學遺傳學(如DREADD)和光遺傳學操控研究,這些實驗證實,人為抑制移植神經元的活動會導致已恢復的運動功能暫時喪失,而激活其活動則可增強突觸形成、防止組織萎縮并進一步改善運動功能。這表明移植物來源的神經元已成功整合到宿主的中樞神經系統網絡中,并主動驅動了行為學的改善。
其次,hiPSC-NS/PCs可通過分化為少突膠質細胞,促進脫髓鞘軸突的再髓鞘化,從而恢復神經信號傳導速度與保真度。通過定向分化技術,可以制備出具有強烈膠質分化傾向的細胞系,使其在移植后分化為成熟少突膠質細胞的效率大幅提升。
這些新生的少突膠質細胞能夠對宿主殘留的軸突進行有效的重新包裹,這不僅有助于電生理傳導的恢復,還能促進白質結構的保留,為運動功能恢復提供了重要的結構基礎。臨床前研究證實,這一過程能帶來顯著的功能改善,且未觀察到致瘤性。
第三,移植的hiPSC-NS/PCs還通過強大的旁分泌作用,發揮神經保護和調節損傷微環境的功能。即使細胞尚未完全分化,它們也能持續分泌多種神經營養因子(如BDNF、GDNF、NT-3)和細胞因子。這些因子具有減輕繼發性損傷、抑制有害炎癥、減少膠質瘢痕過度形成以及支持宿主神經元與軸突存活的多重益處。RNA測序分析表明,這種分泌譜會根據損傷環境動態調整,顯示出高度的環境響應性和治療適應性,從而為神經修復創造一個更有利的局部環境。
綜上所述,hiPSC-NS/PCs的治療作用并非依賴于單一機制,而是上述“細胞替代”、“髓鞘再生”和“營養支持”三大核心機制的協同與整合。它們共同致力于從結構重建、功能連接和微環境調控多個層面修復受損的脊髓。未來研究的關鍵方向之一,正是通過優化細胞產品或聯合治療策略,來協同增強這些內源性修復機制,以期在更廣泛的損傷類型和時期中取得最優療效。
治療時機與聯合策略:聚焦脊髓損傷亞急性期
最大化hiPSC-NS/PCs療效的關鍵因素之一是干預時機。急性期劇烈的炎癥反應和慢性期穩固的抑制性瘢痕環境,均不利于移植細胞的存活與整合。而亞急性期(損傷后數天至數周)提供了一個相對平衡的“治療窗口”,此時急性炎癥開始消退,抑制性環境尚未完全固化,更利于移植物定植與功能發揮。這一理念已指導了如慶應義塾大學臨床試驗(jRCTa031190228)等轉化研究的設計。
為進一步提升亞急性期治療效果,聯合策略日益受到重視。特別是,在2020年,一項近期臨床前研究在急性期給予重組人HGF,隨后在亞急性期移植hiPSC來源的神經干細胞/祖細胞(hiPSC-NS/PCs)。
與單獨治療相比,這種序貫治療方案提高了移植細胞的存活率,促進了髓鞘再生和神經元再生,并帶來了更好的運動功能恢復。這些發現表明,在這種情況下,HGF可能作為一種預處理策略,為亞急性期的后續移植創造更有利的微環境。

此外,對hiPSC-NS/PCs進行基因工程改造,使其過表達突觸組織蛋白CPTX,從而主動促進移植神經元與宿主回路間功能性突觸的形成。這些多模式聯合療法代表了未來優化療效的重要趨勢。
hiPSC-NS/PCs治療的安全性控制
安全性與致瘤風險是hiPSC療法臨床轉化的核心關切。控制系統性風險需要多管齊下:
首先,是源頭控制與分子干預。優先選用經過全面驗證的低風險細胞系,并利用表觀遺傳學特征(如抑癌基因甲基化狀態)進行篩選。在移植前,可采用γ-分泌酶抑制劑(GSI)等對細胞進行短期預處理,通過抑制Notch信號通路來促進其向神經元分化、降低增殖潛能,從而從根源上減少致瘤風險。
其次,是實施全流程嚴格質控。建立涵蓋細胞生產全鏈條的質量控制體系至關重要,包括利用流式細胞術確保未分化標志物(如OCT4)呈陰性、評估核型穩定性、以及驗證其定向分化為神經元和膠質細胞的能力與比例。這套標準化流程是保證細胞產品一致性與安全性的操作基石。
通過綜合運用上述策略,可層層規避風險。未來,建立長期的移植后監測體系,將是持續評估安全性、贏得臨床信任的關鍵。
面向慢性脊髓損傷的挑戰與臨床轉化瓶頸
盡管利用hiPSC-NS/PCs移植的治療策略在脊髓損傷的急性期和亞急性期取得了進展,但慢性脊髓損傷(約占所有脊髓損傷病例的95%)的有效治療方法仍未得到充分開發,構成了一項重大的臨床挑戰。在亞急性期,損傷微環境相對寬松,有利于移植物的存活、整合和安全性;而在慢性期,瘢痕、空洞和脫髓鞘會形成抑制性環境,限制功能恢復,并可能影響移植物的生物學行為(圖2)。
臨床前研究表明,在亞急性期進行移植可顯著提高功能恢復,而慢性期移植則受到抑制性微環境的限制。

為了應對這一臨床需求,美國已啟動了使用胎兒腦或脊髓來源的神經干細胞/祖細胞(NS/PCs)的臨床試驗。然而,胎兒組織來源的細胞存在倫理問題且供應有限。因此,人誘導多能干細胞來源的神經干細胞/祖細胞(hiPSC-NS/PCs)作為一種有前景的替代細胞來源脫穎而出,它不僅供應穩定,而且倫理限制也更少。
盡管如此,迄今為止的臨床前研究尚未證實單獨使用神經干細胞/祖細胞移植治療脊髓損傷慢性期具有足夠的療效,這凸顯了開發更有效、更可持續的治療策略的必要性。
此外,臨床轉化還面臨一系列實際挑戰:
其一,模型與臨床脫節。多數臨床前研究采用胸椎損傷模型,但臨床上頸椎損傷占主導,二者在神經解剖復雜性與功能評估上差異巨大,加之物種差異,削弱了臨床前數據的預測價值。
其二,臨床試驗實施困難。包括患者功能評估受多種因素干擾、客觀生物標志物缺乏、尤其是慢性期患者招募困難等。
其三,產業化壁壘高。細胞產品的標準化、規模化生產、嚴格的批次間質控、復雜的冷鏈物流以及高昂的研發成本,構成了療法普及的最終障礙。目前,采用“現成”的HLA匹配異體hiPSC細胞庫被視作比個體化自體療法更可行的轉化路徑。
結論
綜上所述,基于hiPSC-NS/PCs的細胞療法為脊髓損傷的修復帶來了革命性希望,其多機制協同的治療作用在臨床前研究中得到證實,并已初步步入臨床驗證階段。當前的研究焦點正從亞急性期延伸至更具普遍性的慢性期損傷,同時積極探索聯合治療策略以優化療效。
然而,要實現廣泛臨床應用,仍必須成功應對長期安全性驗證、客觀療效評價體系建立、臨床相關模型開發以及產業化供應鏈構建等多重挑戰。持續而嚴謹的基礎與臨床研究,是支撐這一極具前景的再生療法最終惠及廣大患者的科學基石。
主要參考資料:[1]:Ryo Ogaki, Narihito Nagoshi, Hideyuki Okano, Masaya Nakamura, Human induced pluripotent stem cell-derived neural stem/progenitor cell therapy for spinal cord injury: preclinical advances and translational perspectives,?Stem Cells Translational Medicine, Volume 15, Issue 1, January 2026, szaf073,?https://doi.org/10.1093/stcltm/szaf073
免責說明:本文僅用于傳播科普知識,分享行業觀點,不構成任何臨床診斷建議!杭吉干細胞所發布的信息不能替代醫生或藥劑師的專業建議。如有版權等疑問,請隨時聯系我。
掃碼添加官方微信